简体中文    English
 
燃气汽车改造产品目录
·汽油机改双燃料汽车套件(LPG/CNG 液化气/天然气 燃气汽车 改装系统 油改气)
·柴油机改单燃料系统套件(LPG/CNG/LNG 液化气 /天然气/液化天然气 燃气汽车 改装系统 油改气)
加油机专用防爆双流量电磁阀系列
二通电磁阀系列
 
 

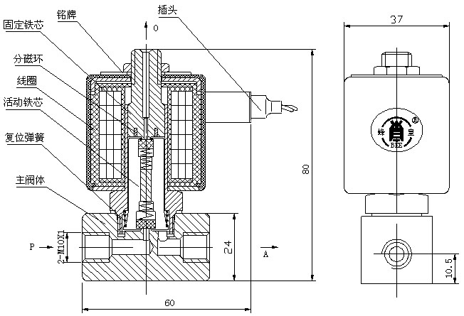
产品名称: 二位三通电磁阀 产品型号: ZCQQ-2
订货编号: Z1105001
产品说明:

                                                                      普通型二位三通电磁阀

一、用途
  本二位三通电磁阀是气动控制系统中的基本元件,它接受电信号转换为接通或切断气流及切换气流方向的控制阀,通常作为换向阀的先导阀,并广泛地应用于各种气动执行机构及石油计量,分析仪器,汽车刹车喷淋,控制系统中。
 
            本产品用于发泡机、泡沫注料机、鞋机等  
二 、产品性能特点:
  * 结构简单,紧凑,工艺先进。
  * 直动式软密封,能适用多种化工、油品、二氯甲烷等腐蚀性介质。
  * 安装位置任意,占用空间小。 
 
三、性能技术参数:
公称通径
φ2mm
接管螺纹
本厂标配M10×1
可按需配:G1/8 、 G1/4
工作压力
0~1.0Mpa
工作介质
-5~65  经净化的压缩空气式运动粘度在20CTS以下的流体
环境温度
-40~60℃
额定电压
AC220V(50HZ) 、DC24V、DC12V
介质温度
-5~65℃ ( 不冻结状态)
 
 
四、阀体标记:"P"进气源, "A"工作孔 "O"排气孔
 
五、产品结构及外型尺寸图:
 
 
六、注意事项:
  * 使用时必须阀体标记要求正确配接气路管子。
  * 电源电压、公称压力必须满足产品铭牌标明的技术参数。
  * 气源务必配置气源处理件,以供给恒压,净化的压缩空气,保证阀持久的正常工作。
  * 我厂可用户提供特殊要求的该产品设计、制造。

可零售可批发,欢迎询价!

版权所有© 浙江奥博科技有限公司 地址:温州市海洋经济示范区昆鹏街道雁云路706号文博科技产业园9幢102室 电话:0577-88412314 88420520 传真:0577-88412360
浙ICP备2023021131号 技术支持:联科科技  |电瓶夹 |自封加油枪 |拨叉
国内销售:
点击这里给我发消息
技术支持:
点击这里给我发消息

二维码扫一扫