简体中文    English
 
燃气汽车改造产品目录
·汽油机改双燃料汽车套件(LPG/CNG 液化气/天然气 燃气汽车 改装系统 油改气)
·柴油机改单燃料系统套件(LPG/CNG/LNG 液化气 /天然气/液化天然气 燃气汽车 改装系统 油改气)
加油机专用防爆双流量电磁阀系列
二通电磁阀系列
 
 

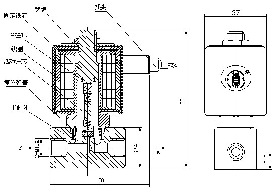
产品名称: 二位二通电磁阀 产品型号: ZCTP-5
订货编号: Z1105002
产品说明:

                                                                  普通型二位二通电磁阀

一、用途
  本系列二通直动式电磁阀是气体、液体管路中自动控制系统的基本元件。
它接受电信号转换为气、液体介质在管路中的流通或切断的自动控制。
 
         本产品用于发泡机、泡沫注料机、鞋机等   
  
 
二 、产品性能特点:
  * 直动式软密封。
  * 电磁线圈全包覆,具有良好的防潮性能。
  * 结构简单,紧凑,工艺先进。
  * 按装位置任意,占用空间小。
  
三、性能技术参数:
性能项目
 
规格
ZCTP-3
ZCTP-5
流体介质
 
水、油品、化学原料、压缩气体。
使用压力范围(MPa)
 
0~0.8
接管螺纹
                             本厂标配:M10×1
                             客户选配:G1/8、G1/4
 
环境温度(℃)
 
-20~55
介质温度(℃)
 
-20~60
KV值(M3/h)
0.137
1.55
泄漏量(ML/min)
 
0
额定电压(V)
AC220V (50Hz) DC24V  DC12V
 
绝缘等级
B
 
注:用户选购时应明确标明使用介质,尤其为化学原料、二氯甲烷、油品等。
四、产品结构及外型尺寸图:
五、注意事项:
  * 按装时流通方向应与阀上标记一致。
  * 电源电压、公称压力必须满足产品铭牌标明的技术参数。
  * 对管道中不清洁杂质必须进行清洁净化、并配置过滤器。
  

    可零售可批发。欢迎来电垂询!

版权所有© 浙江奥博科技有限公司 地址:温州市海洋经济示范区昆鹏街道雁云路706号文博科技产业园9幢102室 电话:0577-88412314 88420520 传真:0577-88412360
浙ICP备2023021131号 技术支持:联科科技  |电瓶夹 |自封加油枪 |拨叉
国内销售:
点击这里给我发消息
技术支持:
点击这里给我发消息

二维码扫一扫